This website is not affiliated with BMW AG in any way, and should not be confused with the websites of BMW AG, BMW M GmbH. All trademarks and registered trademarks are the property of their respective owners.

RealOEM, VIN decoder, bmw, parts catalog, etk, aftermarket accessories. Online katalog BMW ETK obsahuje detailní informace o náhradních dílech pro auta vyrobené BMW od 1928.

520i M20

5' E28 Saloon (Lim) ECE

Options:

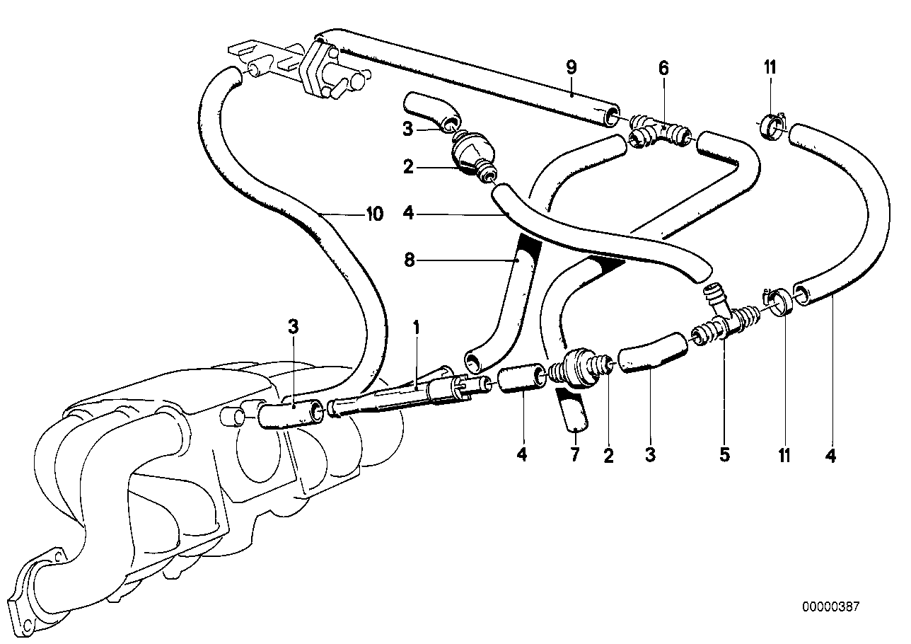
Podtlakové ovládání-motor

Description Extra info Condition Qty Číslo dílů
01 Vzduchové čerpadlo do 1982 1
11 61 1284269
02 Zpětný ventil do 1982 2
34 33 1151532
02 Zpětný ventil do 1982 2
34 33 1151533
03 Připojovací kus do 1982 3
34 33 1116003
04 Podtlaková hadice 12X19 do 1982 X
34 33 1115926
05 Rozdělovač do 1982 1
34 33 1103544
06 T-spojka do 1982 1
11 63 1277295
07 Hadice do 1982 1
11 61 1277721
08 Hadice do 1982 1
11 61 1277722
09 Hadice do 1982 1
11 61 1277720
10 Hadice do 1982 1
11 61 1284714
11 hadicová spona L18-24 do 1982 X
07 12 9952109