This website is not affiliated with BMW AG in any way, and should not be confused with the websites of BMW AG, BMW M GmbH. All trademarks and registered trademarks are the property of their respective owners.

RealOEM, VIN decoder, bmw, parts catalog, etk, aftermarket accessories. 原厂备件目录 BMW零件目录 VIN解码器 ETK 2019 售后零部件 饰品.在线目录宝马ETK包含自1928年以来由宝马制造的汽车零备件的详细信息.

323i M20

3' E30 四门车 (4-T) ZA

Options:

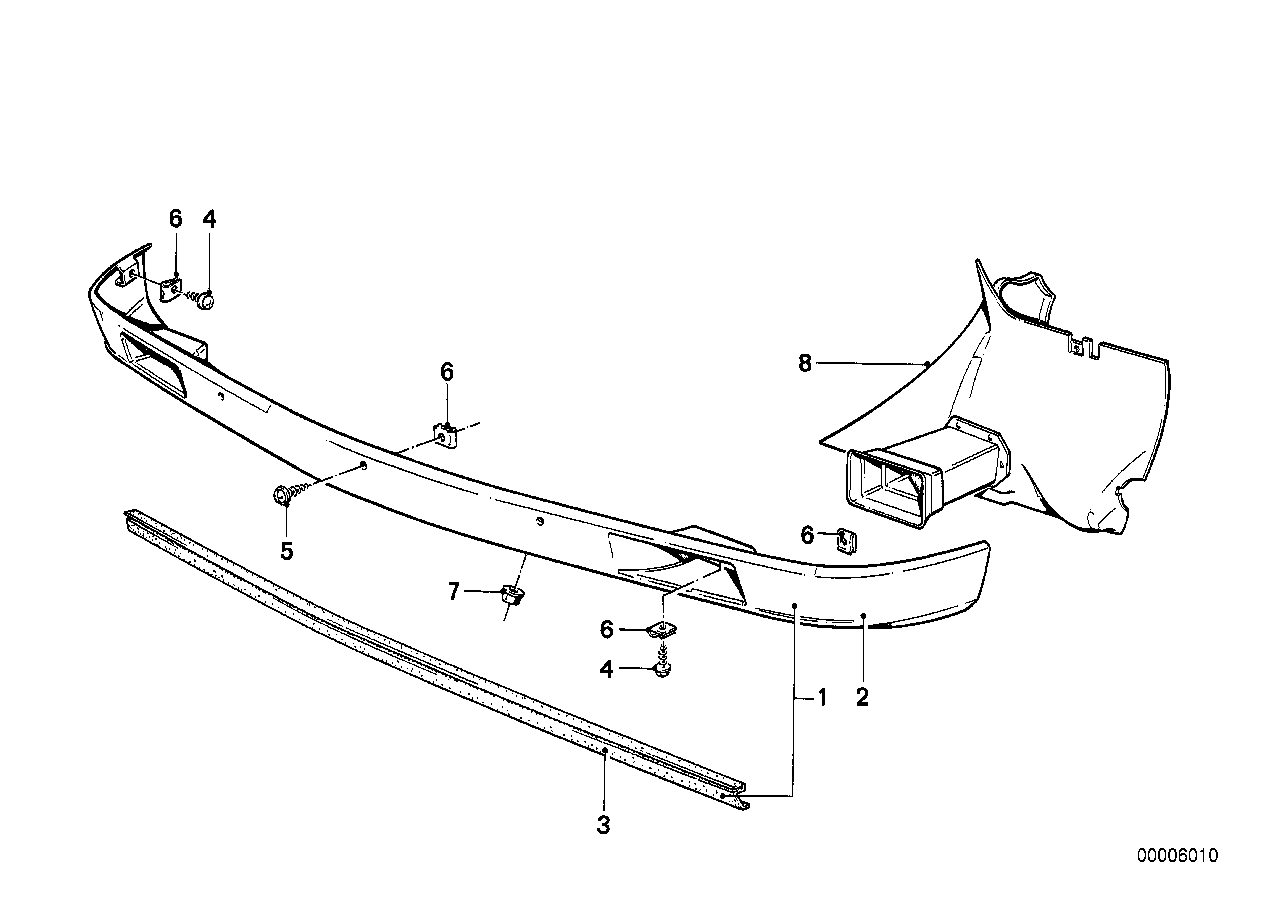
保险杠 前部

描述 另外 条件 金额 说明
02 前挡板 直到 1986 1
51 71 1911983
03 橡胶条 下部 直到 1986 1
51 71 1916070
04 六角自攻螺钉 ST4,8X16-C-Z2 直到 1986 4
07 11 9916946
04 六角自攻螺钉 ST4,8X16-ZNS 直到 1986 4
07 11 9901294
04 六角自攻螺钉 ST4,8X16-ZNS3 直到 1986 4
07 11 9901299
05 自攻螺钉 B4,8X16 直到 1986 3
51 71 1916018
05 自攻螺钉 4,8X16 直到 1986 3
25 11 1220298
05 自攻螺钉 4,8X16 直到 1986 3
07 11 9904929
05 自攻螺钉 ST4,8X16 直到 1986 3
07 11 9904185
06 钢板螺母 ST4,8-1 直到 1986 5
07 12 9925735
06 组件 钢板螺母 25 ST4,8-1 直到 1986 5
07 50 9063124
06 钢板螺母 ST4,8-1-ZNS 直到 1986 5
07 12 9901647
06 钢板螺母 ST 4,8 直到 1986 5
07 12 9904222
06 插入式螺母 M5 直到 1986 5
46 63 7651465
07 塑料螺母 M6 直到 1986 2
16 13 1176747
08 盖板 左 直到 1986 1
51 71 1916171
08 盖板 右 直到 1986 1
51 71 1916172